فورد حق اختراع یک شیفتر دستی برای خودروهای برقی را ثبت کرد_دوپلر
[ad_1]
نوشته و ویرایش شده توسط مجله دوپلر
پیشرانههای خودروهای الکتریکی با خودروهای درونسوز کاملاً متفاوت است اما این تفاوت مانع خودروسازان برای پیروی احساساتی که زیاد تر رانندگان به آن عادت دارند، نمیبشود. حق اختراع تازه فورد که ۲۰ مارس به ثبت رسیده است، مربوط به دستهدنده سنتی برای خودروهای برقی است. یقیناً این شیفتر در واقع دندهها را عوض نمیکند، بلکه مقصد آن چیز فرد دیگر است.
شیفتری قدیمی برای خودروهای مدرن
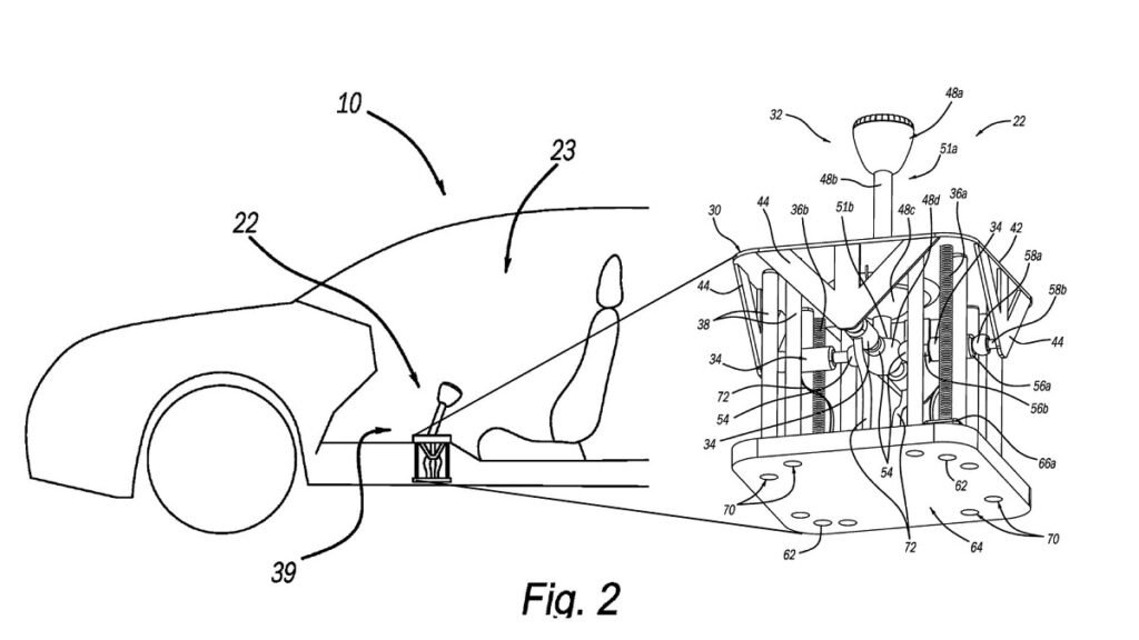
این حق اختراع که «مجموعه شیفتر برای خودروهای الکتریکی» نام دارد، شیفتری کاملاً قدیمی را مشخص می کند که در جعبه نصب شده است. اگر این شیفتر برای فورد موستانگ دارک هورس می بود، روی تونل سیستم انتقال قوت نصب میشد و از طریق اتصالات مکانیکی به جعبهدندهای ششسرعته متصل میشد.
این دستهدنده روی بخشی مرتفع از کف قرار میگیرد و به محرکهای مختلفی وصل میبشود که کنترلگر الکترونیکی آن را مدیریت میکند. بر پایه این حق اختراع، شیفتر فورد «جریان انرژی الکتریکی را پک باتری ارسال کرده مدیریت و شدت موتورها و گشتاور تولیدی هر موتور را کنترل میکند.»
بهعبارتدیگر، دستهدنده را که جلو و عقب میکنید، سیگنالهایی برای تحول خروجی از موتور ماشین (یا موتورها) ارسال میبشود که معاوضه دنده گیربکس استاندارد را پیروی میکند. به گمان زیادً این کار با افت قوت موتور خودروی برقی را کندتر میکند اما بازهم مسئله مهم این نیست.
فورد در توانایی این ایده تنها نیست؛ هیوندای با آیونیک ۵ N در این عرصه پیشگام است. این ماشین پدل شیفتر را همانندسازی کرده تا حسی همانند خودروهای درونسوز برای مدل برقی تشکیل کند. تویوتا مشغول آزمایش چیزی همانند لکسوس RZ تازه است. مثالهای اولیهای از آن در ژاپن آزمایش شدهاند که از دستهدنده همانندسازیشده با کلاچ منفعت گیری میکنند. یقیناً اشکار نیست این شیفتر در خودروهای تولیدی منفعت گیری خواهد شد یا خیر. بههرحال، به نظر میرسد پدل شیفترها برای رانندگی روزمره مناسبتر باشند.
شیفتر منطقی فورد برای خودروهای برقی
اکنون خودروهای برقی با قوت لحظهای که معاوضه دنده را مختل نمیکند، سریعترین خودروهای تولیدی دنیا می باشند. مقصد مهم این اختراعات افزایش دخالت راننده در فرایند رانندگی است. این نوشته در مدلهای برقی، نسبت به خودروهایی همانند مزدا میاتا یا حتی پیکاپ قدیمی با اهرم معاوضه دنده زیاد بلند، به قدر کافی خوب نیست. این شیفتر را میتوان برای منفعت گیری بهگفتن گیربکس متوالی یا ششسرعته تنظیم کرد.
شیفتر فورد منطقیتر از موارد دیگر عمل میکند. موتورهای کوچک در پایه نصب خواهد شد که بازخورد نیرو را از طریق اهرم منتقل میکنند. این موتور میتواند شیفتر را همانند کامارو با موتور ۶.۲ لیتری V-8 به ارتعاش درآورد و وقتی که برای مثالً «دنده» را عوض میکنید، مقاومت ناچیزی از خود مشخص می کند. ازآنجاکه اکثر خودروهای برقی گیربکس ندارند، اگر بخواهید عادی رانندگی کنید، میتوان کلاً این شیفتر را جمع کرد.

این حق اختراع ابتدا سال ۲۰۲۳ ثبت شده می بود؛ به این علت فورد از چند سال پیش روی آن کار کرده است. این که این ایده درنهایت به ثمر بنشیند یا خیر اشکار نیست اما میتواند راهی برای جذب علاقهمندان خودروهای سنتی به مدلهای برقی باشد.
دسته بندی مطالب
مقالات کسب وکار
[ad_2]